2024十大炒股配资平台
热点资讯
- 合肥股票十倍配资 1月2日基金净值:长盛电子信息主题灵活配置混合最新净值1.425,跌2.06%
- 合肥股票十倍配资 中美重磅!何立峰与美财长耶伦视频通话
- 合肥股票十倍配资 宏辉果蔬(603336.SH):获得2亿元回购专项融资支持
- 合肥股票十倍配资 中国华能与科大讯飞签署战略合作协议
- 合肥股票十倍配资 区块链浪潮下的安全守护者:欧科云链的创新实践与行业贡献
- 合肥股票十倍配资 职上网“学-练-改-管”4步形成教学闭环,稳步提升考试通过率
- 合肥股票十倍配资 12月11日基金净值:鹏华创业板50ETF最新净值0.9934,跌0.24%
- 合肥股票十倍配资 山东寿光一企业发生中毒事故致7死4伤 应急管理部派工作组赶赴现场
- 合肥股票十倍配资 2020年中国国际信息通信展览会10月14-16在京举行
- 合肥股票十倍配资 商务部欧洲司司长余元堂会见阿尔斯通中国区总裁耿明
- 发布日期:2024-12-14 23:37 点击次数:106

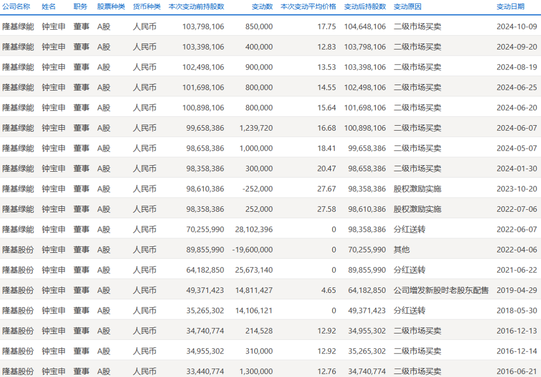
隆基绿能今日晚间公告:公司董事长钟宝申拟即日起12个月内通过上交所系统允许的方式增持公司股份,增持金额不低于1亿元。
增持方式包括但不限于集中竞价交易和大宗交易。增持不设定价格区间,将根据对公司股票价值判断及二级市场波动情况实施增持计划。在增持计划实施期间及法定期限内不减持所持有的公司股份,不进行内幕或短线交易,不在窗口期买卖公司股票。
钟宝申刚刚完成上一轮增持承诺。他曾计划自去年10月末起12个月内增持公司股份,增持金额不低1亿元,不超1.5亿元。截至10月末,钟宝申增持计划实施期限已届满,钟宝申通过集中竞价交易方式累计增持公司股份628.97万股,占公司总股本的0.08%,累计增持金额1.02亿元。
截至目前,钟宝申持有隆基绿能将近1.05亿股份,占总股本的1.38%。
钟宝申频频购入隆基绿能股票。他在2012年即通过二级市场购入隆基绿能股票,6元的价格买入41.7万股,2015年频繁增持,2024年又再次启动增持。
钟宝申1986年和李振国、李春安考入兰州大学,他们感动于江隆基校长的风节,许下愿望创业公司以校长名字命名。三人因长期协作而被誉为“隆基三剑客”。
钟宝申虽然是董事长,但是在三个人中持股最少,实控人李振国则担任总裁。
钟宝申持有隆基股份以增持为主,唯一一次减持是因为家庭财产分割。2022年4月8日晚间,隆基股份公告称,钟宝申因家庭财产分割,于4月6日在中登公司上海分公司办理了证券非交易过户业务,过出公司股票1960万股。
而李振国也是一直增持:在2013年8月12日首次通过二级市场买入30万股,均价14.35元/股;到2015年7月份还有四次买入,2018年又有五次买入。此后未有买卖。
李春安在2015年多次减持,至今未有增持。
“三剑客”持股悬殊,可以追溯到隆基绿能2000年创立,李春安是2003年8月公司增资时加入。当时,公司通过股东会决议,决定增加注册资本1000万元。其中李振国增加出资75万元,李喜燕(李振国妻子)增加出资25万元,新股东李春安出资880万元,新股东李文学出资20万元。
该次注资后,公司注册资本为2000万元,李春安持股比例44%,李振国持股比例41.25%、李喜燕13.75%、李文学1%。
李春安在2021年2月向高瓴资本转让2.26亿股,占公司总股本的6%。每股转让价格为70元/股,对应交易总额为158.41亿元。
李春安在隆基绿能落袋为安后,他还和钟宝申一起成为连城数控实控人。2007年时,连城数控成立,沈阳汇智认缴出资额为85万元,持股比例85%。自然人张天泽认缴出资额15万元,持股比例15%。沈阳汇智背后即为钟宝申、李春安,两人还签署了《一致行动协议》,明确约定二人在董事会表决中保持一致。
2020年,连城数控成为东北地区首家登陆新三板精选层的企业。
除了连城数控,钟宝申还投资入股奥迪威并担任董事,在新三板公司隆基电磁任董事,在海南惠智投资有限公司担任董事长、总经理。
在A股二级市场,他也比较活跃:三季度末进入玉禾田、永泰运等公司前十大流通股股东名单。
合肥股票十倍配资
- 合肥股票十倍配资 美股机器人概念股集体飙升,Richtech Robotics暴涨近50%,Guardforce AI、Palladyne AI涨超23%,Serve Robotics涨超16%2025-09-10
- 合肥股票十倍配资 国办:推出冰雪旅游、避寒避暑旅居等特色旅游产品2025-09-06
- 合肥股票十倍配资 1月10日基金净值:民生加银鑫福混合A最新净值1.2212025-07-12
- 合肥股票十倍配资 商务部欧洲司司长余元堂会见阿尔斯通中国区总裁耿明2025-07-11
- 合肥股票十倍配资 上交所并购重组审核委员会通过国泰君安发行股份购买资产2025-06-16
- 合肥股票十倍配资 恒铭达:第三届监事会第十六次会议决议公告2025-06-14
